TEF2650 TRANBERG® searchlight Halogen 1000 W, 230 V, Warm white, Control system: Bus-controlled, Luminous flux 21000lm, Installation: Safe Area
- Product Type: TEF2650213410
- Art. No.: 170730
Technical data
General
| MY R. STAHL | T2650E |
| Product variant | without motor focus |
| Product Type | TEF2650213410 |
| Highlights | Applicable to sub-zero temperatures of -50 °C (-58 °F).Heating in motorhouseMay be operated from 1-16 control panelsOptions: Spread filter, pedestal, canvas cover, anti-condensation heater in drum, remote controlled motorfocus, Supports up to 16 fully integrated control panels, each capable of operating up to 8 searchlights simultaneously, radio control system, control panel: see TEF2613 |
| Functional Description |
R. STAHL TRANBERG’s searchlights are all designed for rough environments. It is the policy of R. STAHL TRANBERG to provide products and services that meet the highest standards of quality in the industry and the performance needs and expectations of our customers. Achievement of this objective requires that all products perform reliably and efficiently and in a manner that assures continuing market competitiveness. Applications: - Halogen searchlight can with advantage be used on fishing boats, tugboats, supply ships, cargo and tank vessels - Dimensions and lamp power depends on type of ship and area of application. |
Explosion Protection
Electrical Data
Device Specific Data
Lighting Data
Ambient Conditions
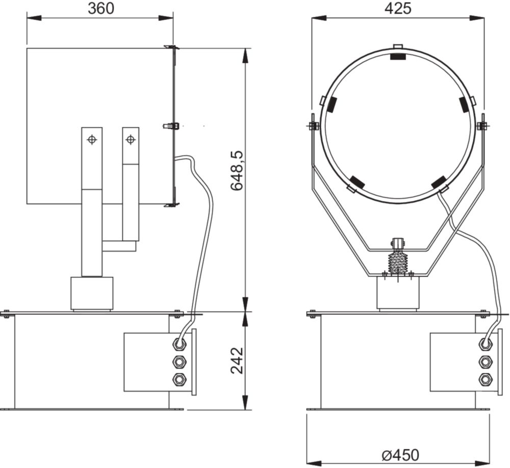
Mechanical Data
Components
Commercial data
Downloads
| Description | Document Type | Language | |
|---|---|---|---|
| TRANBERG® Searchlight - TEF2650 - de-DE | Product Overview |
![]() |
|
| TRANBERG® Searchlight - TEF2650 - en-GB | Product Overview |
![]() |
|
| TRANBERG® Searchlight - TEF2650 - es-ES | Product Overview |
![]() |
|
| TRANBERG® Searchlight - TEF2650 - fr-FR | Product Overview |
![]() |
|
| TRANBERG® searchlight Halogen 1000 W, 230 V network-controlled without motor focus - TEF2650213410 ... | Single Data Sheet |
![]() |
|
| TRANBERG® searchlight Halogen 1000 W, 230 V network-controlled without motor focus - TEF2650213410 ... | Single Data Sheet |
![]() |
|
| TRANBERG® searchlight Halogen 1000 W, 230 V network-controlled without motor focus - TEF2650213410 ... | Single Data Sheet |
![]() |
|
| TRANBERG® searchlight Halogen 1000 W, 230 V network-controlled without motor focus - TEF2650213410 ... | Single Data Sheet |
![]() |















